|
|
6. dubna 2001
Automat na světla poněkolikátépodrobně konstrukčně popsaný Prostě jiná verze (ať je výběr), tak trochu víc podrobně.
Pročet jsem návody na automaty světel a komentáře k nim, "konkurenční"
návrhy se v jistých ohledech můžou hlavně u starších motorů potýkat s drobnými
problémy (hlavně verze spojená s indikátorem mazání).
Chci se proto podělit i o moje řešení, je to sice mírně složitější
a obsáhlejší, ale myslím si, že trochu podrobnější popis nezaškodí.
Nejde tady jenom o schéma zapojení, v praxi není schéma ani tak důležité,
jako montáž, přípojné body a tak podobně. Popis spínače proto obsahuje
především praktickou část, kde se vyskytují snad aspoň pro někoho zajímavá
řešení.
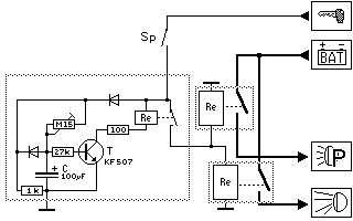
Teorie (nenáročný motorista nečte)
Protože moje zručnost není neomezená, přesněji řečeno, prý jsem "elektronický
Mičurin", maximální počet aktivních prvků v časovači jsem omezil na dva
tranzistory, z důvodu nezničitelnosti jsem výkonový tranzistor nakonec
nahradil pomocí miniaturního DIP relé. Celé zapojení se skladádá z vlastního
časovacího RC obvodu, výstupního obvodu s tranzistorem a relé a z ochranného
obvodu, který lze vynechat.
Ochranný obvod je k tomu, aby se při vypnutí zapalování kondenzátor
C správně a okamžitě vybil.
Součástky jsou voleny tak, aby správně nastavené zařízení reagovalo
pokud možno pouze na plné napětí v palubní síti, lepší by bylo použít časovač
555, komparátor a tak podobně, můžete se o to pokusit, ale nepředpokládám
v poměru k vynaloženému úsilí adekvátní zlepšení.
Provedení časovače
Vlastní časovač jsem vyrobil systémem "vrabčí hnízdo" přímou vestavbou
do krabičky od dálkového ovladače centrálního zamykání od Jablotronu, jediná
pevná část je kostra, která je provedena podložkou z měděného plechu a
šroubem (M4) prošroubovaným skrz dno krabičky. Ostatní součástky jsou vhodně
naaranžovány. Desku s plošnými spoji nikomu nebráním dělat, ale zkušenost
mě přesvědčila, že sebejednodušší zapojení přestane po připájení na desku
fungovat.
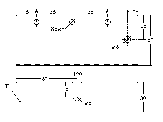
Sestavení, montáž, připojení (Š120)
Nejdřív popíšu mechanické části. Pro upevnění časovače, dvou relé a
vypínače jsem použil nosný plech, který je na obrázku i s rozměry. Je celkem
jedno, z jakého materiálu se držák vyrobí, ani jeho rozměry není nutné
přesně dodržet, samozřejmě v závislosti na rozměrech relé, pokud máte originál
relé montovaná do starých Škodovek, musí být plech větší, ale nová je už
nejspíš neseženete. Mám tam novější typ, menší relé, obvyklá u Favoritů
a pokud vím tak taky všude jinde.
Na držáku jsou umístěna obě relé, časovač v krabičce a vypínač pro letní
provoz. Další obrázek ukazuje, jakým způsobem jsou díly umístěné a kam
jsem zařízení namontoval. Umístění jsem zvolil tak, aby byla jak snadná
montáž, možnost přístupu k vypínači bez nářadí, ale tak, aby nebylo zařízení
vidět (třeba na STK...) Montáž se provede tak, že se (po případné demontáži
spodního krytu pod volantem) povolí jeden ze čtyř šroubů upevnění hřídele
volantu (obrázek snad jasně ukazuje, který to má být) a pouhým zasunutím
pod hlavu šroubu a opětovným utažením se zařízení upevní a zároveň uzemní.
Připojení k elektroinstalaci závisí na možnostech a schopnosti jednotlivce,
není to příliš složitá záležitost žádný kabel není delší než 20cm, propojení
dílů spínače mezi sebou je zřejmé ze schématu.
Přívodní kabel od spínače zapalování jsem připojil na výstup pojistky
č.2, přívod k silovým relé jsem připojil přímo na volný výstup na spínací
skříňce (trvale spojeno s baterkou).
Je i možnost připojit oba napájecí kabely na volné kontakty spínací
skříňky, v takovém případě trvá celá montáž maximálně 5 minut.
Výstupní kabely je nejjednodušší oba připojit ke spínači světel a to
tak, že jeden vývod spojíme s obvodem parkovacích a obrysových světel (červený
vodič ke spínači, je ve svazku nejslabší) a druhý k obvodu potkávacích
a dálkových světel (černý vodič). Výstupní kabel může mít 3 kontakty: jeden
pro připojení k relé, další dva pro připojení do konektoru spínače světel
a to tak, že původní kabel z konektoru zaizolujeme. Kontakty do konektorů
se dají běžně koupit.
Vzhledem k tomu, že časovač spíná obě relé najednou, nezáleží na tom,
který výstup se připojí ke kterému obvodu. Zjednodušením by bylo relé se
dvěma spínacími kontakty, které ovšem není ke koupi.
Pozor: obvody nesmí na výstupu být propojené (jedno relé), nešly by
ručně zapnout pouze parkovací světla, narušila by se původní funkce spínače.
Oddělení se za cenu sníženého napětí parkovacích světel dá realizovat 2A
diodou, ale to nechávám na úvaze.
Drobnou úpravou je připojení kontrolky rozsvícení světel (zelená), která
se standardně montovala do vozidel s otáčkoměrem (GL/GLS), ale i v ostatních
vozech se užije. Jednoduše lze provést tak, že se u sdruženého indikátoru
(budík na místě otáčkoměru) vytáhne žárovka podsvětlení, stejně tam není
potřeba, a nacpe se do volné pozice pro indikační žárovku (vlevo dole)
hned vedle, která je pro kontrolku světel určená a někdy tam je dokonce
nepřipojená žárovka, kterou si můžete schovat na jindy.
Jak to funguje
Po zapnutí zapalování se nejdřív nabíjí časovací obvod. Podle stavu
baterie a nastavení časovače to trvá 10-25sekund, než se rozsvítí světla.
Při nastavení pro velmi pomalé nabíjení kondenzátoru (nastavuje se trimrem
M15) se kondenzátor nabije na spínací napětí až v době, kdy je v síti vozu
plné napětí, to znamená, že dokud motor startujeme, má nízké otáčky nebo
ani není nastartováno, světla se nesepnou. Protože pri každém vypnutí zapalování
se kondenzátor vybije, pokud nastavíme interval sepnutí delší než asi 15s,
nestane se nám, že by se světla rozsvítila dříve, než nastartujeme, pokud
ano, je třeba odpor trimru zvýšit, to je taky jediné potřebné nastavení.
Vzhledem k počtu a umístění relé se sepnutí světel projeví klapnutím,
které neřeslechne ani mrtvola.
Takže po nastartování nám světla svítí, můžeme přepínat dálková a tlumená
světla. Pokud vypneme zapalování, světla zhasnou a kondenzátor se vybije.
Spínačem Sp můžeme celé zařízení vypnout a používat světla běžným způsobem.
I v případě že chceme svítit s vypnutým zapalováním a máme obvod zapnutý,
nic nám nebrání použít ruční spínač.
To je úplně všechno, doufám, že to poslouží aspoň jako inspirace.
Autor článku: Viky (Viktor Valenta)zobrazit další autorovy články  upravit článek pro tisk 
|
|
|