ŠKODA techweb [homepage]
Spojka a převodovka
20. července 2004

Převodná ústrojí III.

III. část


Automatické (samočinné) převodovky:

Jak jsem se zmínil už v I. části článku, nejmenší počet převodových stupňů pro optimální využití výkonu motoru je sedm. Konstrukce sedmistupňové převodovky není nic neřešitelného technicky ani cenově, ale problém je v uživatelích. Řadit správné převodové stupně vždy v optimální dobu je pro velkou většinu řidičů, z nichž mnozí nemají vůbec technický cit, velkým problémem a proto je nutné takové převodovky vybavit automatickým řazením. Automatické řazení u klasické převodovky je ale další technickou komplikací, protože převodovky této konstrukce nejsou schopné řazení bez přerušení přenosu výkonu, je nutné motor od převodovky krátce odpojit. Z tohoto důvodu byla vyvinutá převodovka s hydrodynamickou spojkou s měničem momentu a planetovými soukolími. Tato konstrukce převodovky vznikla již před desítkami let, převodovky byly pouze třístupňové, protože se využívalo schopnosti měniče momentu překlenout určité fáze chodu motoru. Měnič je svou schopností násobit točivý moment vlastně dalším převodovým stupněm, proto tři převodové stupně stačí. Tehdy se na ekonomiku provozu příliš nehledělo, důležitý byl komfort jízdy. Ovládání vozu bylo zbaveno spojkového pedálu, stačilo pouze sešlápnout pedál plynu a automatika zajistila plynulý rozjezd. Při přeřazování bylo ještě cítit určité trhnutí, které ale nebylo tak nepříjemné jako trhnutí při nesprávném řazení klasickým způsobem. K přeřazování jednotlivých stupňů se využívalo hydraulických elementů v závislosti na rychlosti jízdy a otáčkách motoru, pomocí páky na středovém tunelu se volil režim řazení. Obecně měla vozidla s automatickými převodovkami nižší dosažitelnou rychlost, menší akceleraci a asi o 10 – 15% vyšší spotřebu. Pro vysokou cenu se těmito převodovkami vybavovaly vozidla vyšších cenových kategorií. Později se začaly používat převodové stupně čtyři a měnič momentu se u poslední rychlosti přemostil, tím se omezily ztráty prokluzem, spotřeba paliva poklesla. Poslední typy hlavně evropských automatických převodovek mají až pět převodových stupňů a měnič se překlenuje už od třetího stupně. Automatickými převodovkami se dnes vybavují i vozidla nižších cenových kategorií, ale jen některé modely a převážně na přání. Vrcholem je zatím sedmistupňová převodovka se dvěma zpětnými chody a překlenováním měniče momentu na všech převodových stupních Mercedes – Benz 7G – Tronic (obr. 22). Řazení je dnes řízeno elektronicky v součinnosti s ECU motoru. Změna převodu je nepostřehnutelná, zjistitelná pouze změnou otáček motoru. Obecným problémem automatických převodovek je jejich větší složitost a hmotnost, k řazení se používá soustava spojek a brzd, kterými se mění funkce jednotlivých částí planetových soukolí a tím změna převodu. Důležité je mít v převodovce dostatečné množství předepsaného oleje, používá se speciální typ pro automatické převodovky, v současnosti je to olej plně syntetický.
Největším výrobcem samočinných převodovek klasické konstrukce jsou dnes Japonci.

Hydrodynamický měnič momentu:

V principu jde o hydrodynamickou spojku doplněnou reakčním členem. Reakční člen slouží k usměrnění proudu kapaliny z turbíny do lopatkového kola nebo naopak. Častější bývá první případ, protože je reakční člen blízko osy výstupního hřídele a není složité ho spojit se stojící skříní. Moment na výstupním hřídeli se rovná momentu motoru a momentu reakčního kola. Lopatky ve všech kolech nejsou radiální, ale vhodně zakřivené. Čím více se lopatky zakřiví, tím většího znásobení momentu se dosáhne. Každá teorie ale má své meze a tak se v praxi dosahuje pouze 2 – 3násobného znásobení momentu. Na obr. 20 je znázorněn průběh proudění v násobiči momentu. Problém nastává při převodovém poměru měniče 1 : 1, kdy je účinnost přenosu sil nízká. Řeší se to uložením reakčního kola na volnoběžku, která se při dosažení převodového poměru 1 : 1 uvolní, reakční kolo je unášeno kapalinou a měnič se stává klasickou hydrodynamickou spojkou, čímž se účinnost systému zlepší. V některých případech se použije několik reakčních kol za sebou a uvolňují se postupně, tím se dosáhne zlepšení účinnosti v širokém rozsahu převodového poměru. Princip činnosti je na obr. 21. Tento typ měniče ale pracuje s větším prokluzem a někdy se nestačí ztrátové teplo vyzářit pláštěm, z tohoto důvodu se používá přídavné olejové čerpadlo, které prohání olej z měniče přes zvláštní olejový chladič.
Problémem hydrodynamických spojek je trvalý přenos i minimálního výkonu, vozidlo se může samovolně rozjet pokud nezařadíme parkovací režim, kdy je výstupní hřídel mechanicky zablokován. Stalo se několikrát, že majitel při nastartovaném motoru zapomněl zvolit pákou parkovací polohu a ponechal tak režim D, vystoupil z auta, které se rozjelo a způsobilo značné škody, dokonce i smrtelné úrazy kdy přejelo i vystoupivšího řidiče. Kdo vlastníte vůz se starší konstrukcí automatické převodovky, která ještě neměla elektronické zajištění proti pohybu, kontrolujte polohu volící páky před vystoupením z vozu, nebo nejlépe vypínejte vždy motor.
Protože není hydrodynamická spojka schopna přenosu výkonu obráceným směrem, je doplňována spojkou třecí, ovšem ovládanou automaticky. Měnič potom pracuje bez skluzu. Takto je umožněno brzdění motorem a případné roztláčení vozidla. Blokování měniče se používá i při jízdě vpřed pro snížení ztrát, blokují se většinou jen nejvyšší převodové stupně.
 

Obr. 20  Vnitřní uspořádání hydrodynamického měniče momentu

 

Obr. 21  Třífázový měnič točivého momentu

 
Třífázový měnič má pět oběžných kol. Postupným uvolňováním volnoběžek se zlepší účinnost podle diagramu v pravé části obrázku. Rozváděcí kola jsou spojena volnoběžkami s pevnou skříní a sekundární čerpadlo P2 se spojeno volnoběžkou s čerpadlem P1.
 

 Převody automatické převodovky jsou řešeny jako planetové. Je to podobné jako u diferenciálu, ale na rozdíl od šikmého ozubení se používá soukolí s čelním ozubením a převody nemají převodový poměr 1. Převodového poměru 1 ale docílit lze propojením unášeče satelitů s jedním z planetových kol, převod se chová jako přímý záběr. Planetové soukolí se vyznačuje souosostí vstupního a výstupního hřídele a možnosti dosažení velkých převodových poměrů při malých rozměrech, dále velkou variabilitou uspořádání od nejjednoduššího převodu se dvěma členy až po mnohočlenná provedení, je možné je vyrobit jako čelní i kuželové. Nevýhodou planetových převodů jsou složená namáhání mechanizmu satelitů, kde se kromě sil z otáčení přidávají síly odstředivé. Soukolí je tedy výrobně dražší, musí se vyrábět ve vyšším stupni přesnosti. Větší přesnost ale zlepšuje mechanickou účinnost, která dosahuje až 97%.
Řazení se neděje pomocí synchronizačních spojek, ale třecích brzd a lamelových spojek. Vzájemným brzděním a uvolňováním jednotlivých kol nebo satelitů se dá dosáhnout změny převodového poměru, kombinací dvou planetových převodů je možné získat teoreticky větší množství převodových stupňů, omezení počtu je ale dáno max. rozměry soukolí a jejich fyzickou možností uspořádání. Pro zkrácení délky převodovky použil Mercedes – Benz Ravigneauxovo soukolí se dvěma rozdílnými planetovými soukolími a centrálními planetovými koly planetové převodovky v jediném planetovém věnci (podrobnější obrázek tohoto exotu jsem nesehnal). Prostě jde o zkrácení celkové délky převodovky a snížení hmotnosti. Převodovka má vlastní olejové čerpadlo vyvozující tlak oleje pro ovládání řazení a přemostění hydrodynamické spojky. Řazení se děje pomocí elektromagnetických ventilů ovládaných ECU. V dřívějších dobách, kdy se elektronika ještě nepoužívala, měly převodovky řazení ovládáno pomocí mechanických spínačů, které na základě otáček vstupního a výstupního hřídele spínaly jednotlivé brzdy a spojky. Prakticky šlo o odstředivé regulátory, které měly nastavené určité spínací hranice. Hranice se daly změnit podle určitého kódu pákou, kterou ovládal řidič. Páka se posunovala do poloh P (parkování a spouštění motoru), R (zpětný chod), N (neutrál, nezařazen žádný převodový stupeň) a D (jízda vpřed, ekonomický režim). Dále mohly být ještě další polohy, např. E (zvláštní ekonomický režim, převody se řadily při nižších otáčkách), případně režimy S pro sportovní jízdu (řadí se ve vyšších otáčkách) nebo jízdu v městském provozu. Kromě těchto regulátorů jsou převodovky vybaveny systémem kick – down, kdy při prudkém sešlápnutí plynového pedálu dojde k podřazení o jeden stupeň (pokud to otáčky motoru dovolí) a tím se zvýší akcelerace. Postupem času se s rozvojem elektronických systémů začalo používat řazení pomocí programu v ECU, ovšem nastavování režimu pákou přetrvalo. ECU u posledních modelů dokáže rozeznat styl jízdy řidiče a tomu řazení přizpůsobit. Kick – down systém umožní podřadit i o dva stupně. Nejmodernější automatické převodovky mají možnost řadit jednotlivé stupně buď plně automaticky, nebo pomocí páček nebo spínačů na volantu přímo jednotlivé stupně, takový systém umožňuje sportovní jízdu.
 Automatické řazení u převodovky je možné řešit i klasickým způsobem, kdy se použije normální převodovka a ovládání spojky a řazení převodů je pomocí servomotorů ovládaných ECU. Pro vylepšení funkce při rozjezdu se převodovka může vybavit hydrodynamickou spojkou s měničem momentu. Automatické převodovky odvozené z normálních převodovek se používají často při přestavbě vozidel pro tělesně postižené osoby. Ke klasické převodovce se přidá soustava servomotorů a snímačů, které na základě minima povelů řidiče zajišťují provoz vozidla.
Mechanické převodovky a automatickým řazením nedosahují řadícího komfortu převodovek automatických s planetovými soukolími, řadící program nedokáže rozeznat provozní režim a řadí dost necitlivě i v době kdy je to nevhodné, největším problémem je přerušení přenosu výkonu v často nevhodnou dobu. U těchto převodovek je vhodnější určit změnu převodu podle momentálních podmínek ručně (tlačítkem). Poslední typy těchto převodovek, kdy už je převodovka při vývoji konstruována pro takové ovládání má vysoký komfort řazení díky použití vyspělé elektroniky, která sleduje způsob jízdy řidiče a podle toho volí řazení jednotlivých stupňů. Řídící jednotka takové převodovky pracuje vždy společně s řídící jednotkou motoru.

Obr. 22


 
 Problémy automatických převodovek:

 Problémy vznikají nejvíce zanedbáním údržby, tedy pozdní výměnou olejové náplně u starších typů, nebo nedostatkem oleje v převodovce. Později se k tomu přidává ještě opotřebení řadících spojek a brzd. Vzhledem ke složitosti převodovek nedoporučuji opravy vlastními silami, chce to skutečně odborníka patřičně vybaveného znalostmi a materiálem, po výměně spojkových lamel je nutné jejich seřízení, což bez znalostí příslušných dat nejsme schopni provést. U nových typů automatických převodovek s elektronickým řízením je servis jedinou možností jak převodovku uvést do provozuschopného stavu.
 

 Převodovky se dvěma spojkami (se sekvenčním řazením):

 Požadavky na zvýšení počtu převodových stupňů a zrychlení řazení, případně řazení bez přerušení přenosu výkonu, měly za následek vývoj převodovek se sekvenčním řazením. Nejlepší řešení tohoto požadavku pro sériovou produkci představil Volkswagen po názvem DSG (Direct Shift Gearbox). V pricipu jde o upravenou tříhřídelovou převodovku rozdělením na dvě převodovky se dvěma spojkami (v olejové lázni) a dvěma vstupními a výstupními hřídeli, vstupní hřídele jsou z důvodu úspory místa vloženy do sebe (jeden hřídel je dutý). Jedna převodovka tvoří větev s lichými (včetně zpětného chodu) a druhá větev se sudými převodovými stupni, zatím se celkový počet převodových stupňů ustálil na čísle 6 (7 pro závodní motory). Řazení probíhá tak, že se vždy podle otáček motoru a polohy plynového pedálu zařadí jeden stupeň (první větev převodovky), který je spojen s motorem pomocí příslušné mokré spojky a zároveň se zařadí stupeň následující (v druhé větvi převodovky), který je ale zařazen naprázdno, protože je druhá mokrá spojka vypnutá. Automaticky nebo povelem od řidiče se spojky prohodí a tak je zařazen další stupeň, u první větve se ihned zařadí převod následující. Při poklesu otáček je tomu naopak, zařadí se stupeň o jeden nižší. Ke změně převodu dochází neobyčejně rychle, protože jsou příslušné rychlostní stupně již zařazené, jen se připojí přes mokrou spojku k motoru, změna převodu trvá cca 30 – 40 ms při nepřerušeném přenosu výkonu. Oba výstupní hřídele zabírají přímo na ozubení stálého převodu, pokud není stálý převod s diferenciálem ve společné skříni, je nutné provést spojení dalším ozubeným kolem. Řadit je možné díky elektrohydraulickému systému buď plně automaticky, nebo ručně pomocí páček nebo tlačítek (jedním se řadí nahoru, druhým dolů).
Alfou a omegou principu převodovky DSG jsou spojky. Spojky jsou vícelamelové v olejové lázni vyrobené včetně jejich ovládacího systému ve vysokém stupni přesnosti, použití suchých spojek se neosvědčilo. Při přeřazování dochází po určitou dobu k záběru obou spojek, suché spojky nedokázaly odvést vyvinuté teplo a navíc jejich schopnost tlumit vznikající vibrace je omezená. Spojky jsou zkonstruované jako soustředné, jedna má větší průměr než druhá, ale schopnost přenášení momentu motoru je stejná. Životnost spojek je minimálně 250 000 km. Hřídele od spojek jsou vložené do sebe, tím se stává převodovka velmi kompaktní. Řadící mechanizmus jednotlivých rychlostních stupňů má větší synchronizační spojky z důvodu rychlého řazení.

Obr. 23 Princip převodovky se dvěma spojkami

 
 

Ovládání převodovky zajišťuje mechatronický systém řízený počítačem. Pedál spojky zcela chybí, elektronika se stará i o ovládání spojky při rozjezdu. V normálním režimu se řadí postupně jeden převodový stupeň po druhém, nutností je střídání lichých a sudých převodových stupňů. Programové vybavení ale dokáže zajistit i přeskočení několika stupňů, např. zařazení II. stupně přímo ze VI. stupně se děje tak, že se nakrátko zařadí stupeň pátý a potom ihned převod druhý. Celá tato akce je zvládnuta za méně než 1 sekundu s komfortem řazení nejlepších samočinných převodovek s planetovými převody. Součástí převodovky je olejové čerpadlo a chladič oleje, který musí zvládnout odvést až 70 kW ztrátového výkonu při rozjezdu. Olejové čerpadlo vytváří tlak cca 20 bar a má výkon až 90 l/min. Olej slouží k ovládání hydrauliky a zároveň převodovku i maže. Řídící jednotka je propojena přes datovou sběrnici BUS s ostatními systémy vozidla a na základě takto získaných údajů volí režim řazení. Pro vnější ovládání je použita klasická páka s polohami P, R, N, D, S, v režimu D je řazení velmi komfortní, v režimu S se využívá zkrácené doby řazení (na úrovni 30 ms) a dolů se řadí s meziplynem. Je možné i přímé ovládání řazení pomocí páček na volantu, nebo se přesune volící páka do pravé roviny s polohami + / - (systém Tiptronic). Řadit je možné libovolně, ale elektronika nedovolí zařadit příliš nízký rychlostní stupeň, který by vedl k přetočení motoru. Systém je vybaven funkcí Launch Control pro nejlepší využití výkonu motoru při rozjezdu. Uvedená převodovka váží 90 kg, obsahuje 6,4 l oleje a přenese 350 Nm. (Hmotnost převodovky vzhledem k velikosti přenášeného momentu není zase tak velká a odpovídá zhruba převodovkám automatickým.)

 Přestože zde není možnost použití přímého záběru a přenos výkonu jde přes dvě nebo i tři soukolí, díky většímu počtu převodových stupňů běží motor v režimu blíže optimu a tak celková spotřeba paliva může i klesnout (ověřeno provozem). Protože je převodovka rozdělena na dvě části, její stavební délka je kratší a tak není velkým problém přidávat další převodové stupně, přidáním dvou stupňů se převodovka prodlouží pouze o šířku stupně jednoho. Největší výhodou této převodovky je, kromě automatického řazení, přenos výkonu bez přerušení, převodovka tak může zařadit v jakékoli situaci, aniž by se změna převodu výrazněji podepsala na chování vozidla. Absence hydrodynamické spojky zlepší ekonomiku provozu, problém se společným zapnutím obou spojek je nepatrný, protože doba společného působení je velmi krátká a na ekonomice provozu se neprojeví. Podle mého názoru patří tomuto systému budoucnost, při velkosériové výrobě poklesne cena a bude tak možné vybavovat vozidla nižších cenových kategorií.

Obr. 24 Ukázka principu řazení u převodovky DSG

 
 
Převodovky bezstupňové:

Bezstupňový převod, neboli převod s nekonečně velkým počtem převodových stupňů, je nejvýhodnějším řešením převodovek pro automobily. Průběh tažné síly je možné vytvořit přesně podle křivky na obr. 9, což je pro provoz vozidla ideální. Problém je ale v tom, že se taková převodovka nedá vyrobit s ozubenými koly, protože zatím nikdo nepřišel s řešením jak za chodu plynule měnit jejich počet. Převodovky s plynule měnitelným převodem se proto řeší jako převodovky třecí, kde se využívá změny průměrů rotačních částí hnacího a hnaného hřídele. Mezi válkami se u malých vozidel zkoušelo použití třecích převodů, které byly výrobně levnější než převodovky s ozubenými koly. Nešlo o převodovky bezstupňové, třecí dvojice se nastavovaly do předvolených poloh. Problémem byla nízká životnost a schopnost přenosu malého výkonu, což ovšem u vozidel s výkonem okolo 10 - 15 kW stačilo.
Nejklasičtějším příkladem použití bezstupňového převodu je variátor, který je tvořen dvěma páry kuželových kol (řemenic), mezi nimiž je klínový řemen. Oddalováním a přibližováním obou polovin řemenic klínový řemen opisuje pokaždé jiný poloměr a tím se mění převodový poměr.

Obr. 25  Schématické zobrazení variátoru

a) jednostupňový – regulace změnou vzdálenosti os, řemenice 1 pevná, řemenice 2 stavitelná; převod asi 1,78
b) dvoustupňový převod – regulace změnou vzdálenosti polovin řemenic; převod do 3,2
c) čtyřstupňový převod – přestavují se vnější poloviny hnací a hnané řemenice, převod je násobkem dvoustupňového převodu

Tento převod je použitelný do výkonu asi 50 kW s účinností mezi 80 a 90% a je často používán v průmyslu. U motorových vozidel se objevila konstrukce bratrů Van Doornových u vozu DAF 55 Daffodil v roce 1958, kde fungoval v automatickém režimu na základě odstředivého regulátoru a odstředivé spojky. Na obr. 26 je kompletní převodový systém tohoto vozu, nazvaný Variomatic I. Pohon od motoru přes odstředivě zapínanou spojku vede do skříně s kuželovými koly, které zabírají do jednoho pastorku, zubovou spojkou se zapíná chod vpřed nebo vzad. Na každé polonápravě je samostatný pohon s redukčním převodem, který odlehčuje řemeny a prodlužuje jejich životnost. Odstředivý regulátor je zobrazen v poloze pro rozjezd, v řezu je vidět membrána podtlakového regulátoru, který při akceleraci zajistí zvětšení převodu (jakoby podřazení). Odstředivé regulátory zajišťují změnu převodu podle jízdních odporů. Výkon k tomuto převodu přenáší dvoustupňová odstředivá spojka (se dvěma páry čelistí), která zabírá prvním párem někde mezi 1 000 a 1 400 ot/min, kdy se přenáší částečný moment. Druhý pár sepne asi ve 2 300 ot/min, zhruba tedy v otáčkách max. točivého momentu. Mezi těmito otáčkami při plném výkonu spojka prokluzuje. Převod měl jednu malou vadu, při propružení náprav se řemeny částečně křížily.
  U vozu DAF 66, kde byla kyvadlová náprava nahrazena nápravou De Dion a přenos výkonu na kola zajišťovaly kloubové hřídele, je střední část i s brzdami uložena na rámu a tedy stále v jedné rovině s řemenicemi hnacími, klínové řemeny se už při propružení nápravy nekříží.
Perlička – asi dva roky před uvedením DAF 55 na trh stejnou myšlenku řešení převodu klínovými řemeny sdělil jen tak mezi řečí jeden z našich občanů redaktorovi jednoho z tehdy vycházejících automobilových časopisů, že by bylo po problémech s řazením. Jméno ani funkci si nepamatuji, dotyčný článek jsem už nenašel. Kdyby si byl nechal tuto myšlenku patentovat, mohl si přijít k pěkným penězům.
 

Obr. 26  Pohon vozu DAF 55

 
 

Automatický převod klínovým řemenem řízený odstředivým regulátorem měl i sněžný skútr Jawa. Zde byl pouze jeden klínový řemen a hnací řemenice je upravena tak, že se při volnoběhu obě poloviny vzdálí natolik, že řemen dosedne vnitřním povrchem volně až na kuličkové ložisko, převod se rozpojí, skútr tedy nemá žádnou spojku. Hnaná řemenice měla přídavný element, který zajistil při velkém zatížení sevření řemenic a tím zvětšení převodu, tedy částečně podřadil.
Převody klínovými řemeny se používají také u vozidel obojživelných, označovaných ATV. Zde se často využívá různých odstředivých regulátorů k okamžité změně převodu při prudké změně zatížení. Plynule měnitelný převod se zde využívá také ke změně rychlosti odvalování jednoho hnacího pásu proti druhému, tedy vlastně zajišťuje řízení vozidla (obr.27).

Obr. 27  Řízení pásového vozidla pomocí variátoru

 
Výkon od soukolí stálého převodu se přenáší na řemenice, převodový poměr řídí otáčky kol diferenciálu, v principu jde o řízenou svornost.

Klínové řemeny mají jednu vadu, nedostatečnou životnost a schopnost přenést omezený výkon, kromě toho nesmí být zamaštěny. Proto se Ford postupně spojil s Fiatem a Van Doorne Transmissie BV zaměřil na vývoj převodovky CTX, kterou do poloviny 70. let přepracoval na „obrácený“ systém. Klínový řemen přenáší výkon tahem, převodovka CVT naopak tlakem, jinak je řešení stejné. Klínový řemen je zde nahrazen velkým množstvím klínovitých segmentů, které jsou navlečeny na speciálním pásu o vysoké pevnosti v tahu. Tento pás drží segmenty v určené poloze, celý komplet funguje jako ocelový klínový řemen. Protože jsou segmenty navlečeny volně (i když těsně vedle sebe), je přenos výkonu možný pouze tlakem. Řemenice jsou k sobě přitlačovány silou 20 000 N, převod je mazán z důvodu snížení opotřebení a odvodu tepla. U tohoto řešení je výhoda vysoké životnosti a možnosti přenosu většího výkonu (přes 100 kW) při účinnosti 90 – 97%. U Audi (převodovka Multitronik) na to šli jinak, přenos výkonu se odehrává opět tahem, ale je použit speciální článkový řetěz s upravenými boky čepů, které jsou klínovitě zbroušeny. Jde o mnohořadý řetěz o šířce 38 mm z podobného materiálu, jaký se používá na výrobu valivých ložisek. Přítlačná síla vzhledem k menší styčné ploše vzrostla na „pouhých“ 65 000 N. Přenesený výkon je přes 150 kW / 300 Nm. Tento princip vyvinul Porsche pod označením CVTip.
Plynule měnitelnou převodovku na mechanickém principu vyvinuli také Japonci pro luxusní vozy s velkoobjemovými motory (firma Jatco TransTechnology pro Nissan Cedric 3.0 Turbo, zadní náhon). Principem je převod podle obr. 28b. Uvedený typ má možnost převodového poměru až 1 : 8 a účinnost 70 – 94%, je ovšem výrobně pracný. Japonci postavili převodovku se dvěma paralelními polotoroidy, tím se zvýšila schopností přenosu momentu přes 300 Nm, i když je velmi pracné dosáhnout stejného rozložení momentu na obě soustavy. Soustavu disků a kladek vyvinula „ložisková“ firma NSK. Tlak ve styčných plochách je extrémně vysoký (4 GPa!!!) a vynutil si vývoj speciálního oleje, který pod tímto tlakem udrží souvislou vrstvu. Vývoj tohoto oleje zajišťovala firma Idemitsu Kosan (která je ve tribotechnickém světě velkou neznámou, nikdo z dotázaných o ni nic neví), olej dokáže přenést moment pod uvedeným tlakem při síle 1 ?m. Převodovku doplňuje planetový převod sloužící ke změně směru otáčení a hydrodynamická spojka s měničem momentu. Ford společně s Mazdou pracuje na stejné převodovce pro přední náhon, převodovka nemá měnič momentu a je tak kompaktnější. Uvedené údaje jsou asi 3 roky staré, zatím jsem se nesetkal s dalšími informacemi, takže další pokroky ve vývoji těchto systémů neznám.

Variant řešení bezstupňových převodovek typu CVT je mnoho a vydaly by na dva takové články. Zatím se rozšířily jen u menších vozidel jako náhrada automatických převodovek. Proč se nerozšířily více netuším, pravděpodobně vyšší výrobní náročnost a tedy cena. Také rozjezdy vozidla se stále stejnými otáčkami motoru, které pro nezasvěceného vypadají jako prokluzující spojka a často špatně zvolený algoritmus změny převodu (nejvýraznější u Audi Multitronik), který výrazně zpomaluje akceleraci a neumožní rychlé rozjezdy z křižovatek atd., mnoho potencionálních zákazníků od koupě takto vybaveného vozidla odrazují. V Evropě se prodalo zatím asi 15% vozidel vybavených samočinnými převodovkami, z toho pouze asi 1% převodovkami typu CVT, ovšem do pěti let se předpokládá nárůst na 30%, z čehož bude polovina CVT. CVT převodovky nakonec převládnou z důvodu vyšší účinnosti.
Porovnání převodovek z hlediska účinnosti:
- CVT s kovovým řemenem nebo řetězem:  90 – 97%
- polotoroidní CVT    70 – 94%
- samočinná pětistupňová    86%
              - mechanická s ručním řazením   97%

Obr. 28  Plynule měnitelný převod toroidního typu
 
a) převod s třecími koly a kruhovými plochami
b) převod s třecími koly a výkyvnými kotouči
 

Převody nemechanické:

Mezi převody bez mechanické vazby patří převody hydraulické, hydrostatické a elektrické. Hydraulickým převodem se rozumí převod tvořený olejovým čerpadlem a hydromotorem, kterým bývá také upravené hydraulické čerpadlo, nebo kapalinová turbína podobná hydraulické spojce. Převod je vhodný tam, kde nejsou nároky na účinnost a kde dochází k větším vzdálenostem se zcela rozdílnými osami otáčení, tedy u různých zemědělských mechanizmů apod. Důležité je zpětné vedení oleje k zásobníku čerpadla, vytlačený olej se musí vrátit zpět k čerpadlu. Používá se málo, změna převodového poměru je možná mechanickou změnou pracovního objemu čerpadla nebo hydromotoru. Svého času se nějaký takový systém používal u motorových vozů železnic.
Výrazně více se používá převodu hydrostatického, kde se k přenosu výkonu využívá změny objemu přečerpávané kapaliny. Na straně pohonu je axiální pístové čerpadlo s měnitelným zdvihem pístů a na straně náhonu je stejné čerpadlo s konstantním objemem válců zapojené jako motor. Axiální čerpadlo s neměnitelným zdvihem je na obr. 29. Pístové čerpadlo nemusí být nutně použito, ale pro regulaci má nejlepší vlastnosti.

Obr. 29  Hydrostatické čerpadlo s neměnitelným objemem Technometra

 

Obr. 30  Schéma hydrostatického převodu s přestavitelným čerpadlem
 
 

Pohyb pístů zajišťuje přes ojnice s kulovými čepy otáčení šikmé desky, která vysunuje a zasunuje písty do válců vytvořených v bloku, který je otočný na čepu v hlavě. Rozvod kapaliny šoupátkový bez pohyblivých dílů, jde pouze o vybrání v hlavě. Otáčení bloku zajišťují ojnice pístů, které se opírají o stěny válců. Toto čerpadlo dodává na jednu otáčku konstantní množství oleje, nelze je tedy regulovat. Pro změnu objemu čerpané kapaliny je nutné měnit sklon šikmé desky, což se řeší vykláněním bloku s písty. Takové čerpadlo nebo hydromotor je nutné použít pro možnost změny převodového poměru. Změna převodového poměru je závislá na poměru objemů čerpadla a hydromotoru, lze tedy jednou dvojicí, kde má hydromotor neměnitelný objem a čerpadlo je přestavitelné s maximálním objemem větším než je objem hydromotoru, zajistit převod menší i větší než 1. Poměr objemů je převodovým číslem. Výhodnější je kombinace přestavitelné čerpadlo a neměnitelný hydromotor než naopak, nejlepším řešením je mít obě součásti přestavitelné, což ale komplikuje ovládání a tak se toto řešení používá zřídka. Axiální čerpadlo je možné jeho vykláněním dostat do polohy, kdy se žádný olej nepřečerpává (písty mají nulový zdvih), tedy výkon se nepřenáší, jednoduchým způsobem se tak nahrazuje spojka. V této poloze je hydromotor zablokován, sloupec oleje neumožní jeho otáčení a tak je vozidlo zabrzděno. Vykloněním čerpadla na druhou stranu se mění směr toku oleje, tedy mění se směr otáčení hydromotoru. Pokud mám hydromotor přestavitelný a čerpadlo neměnitelné, změna převodu je možná, ale nelze dosáhnout nulových otáček, je tedy nutná spojka, což vše zbytečně prodražuje a komplikuje. Hydrostatický převod lze vyrobit malý, protože je možné použít vysokých tlaků (45 MPa) a spojovací potrubí nemusí mít velký průměr. Osa pohonu a spotřebiče může být libovolná. Účinnost dobře provedeného hydrostatického převodu dosahuje 90%, což je hodnota ještě přijatelná. Provoz při převodu menších než 1 je energeticky lepší než u hydrodynamického převodu, převod blízký 1 má naopak menší účinnost, kromě toho je chod čerpadla i hydromotoru při plném zatížení hlučný. Jeho výroba vyžaduje vysokou přesnost, což zařízení značně prodražuje. Hydrostatický převod vhodný pro motorová vozidla musí mít čerpadlo i hydromotor přestavitelný, jinak není možné použít možnosti jízdy na neutrál (oba díly musí být nastaveny do polohy, kdy se písty nepohybují, pouze se bloky s písty volně otáčí), nebo se musí vybavit alespoň volnoběžkou mezi hydromotorem a nápravou. Tento druh převodu se rozšířil u stavebních strojů, zahradních i velkých traktorů a k pohonů přidaných mechanizmů, kde jízda na neutrál prakticky nepřipadá v úvahu.
Využití hydrostatického převodu se přímo nabízí k akumulaci energie získané při brzdění nebo chodu na volnoběh pro městské autobusy a vozidla pracující v podobném režimu, kdy doba rozjezdu a brzdění téměř přesahuje dobu normální jízdy. Hydrostatický převod se upraví tak, aby se při brzdění vozidla zapnul hydromotor jako čerpadlo a natlakoval zásobní nádrž hydraulickou kapalinou (brzdil by vozidlo podobně jako retardér), která se potom při rozjezdu využije spolu s výkonem motoru. V případě nedostatku času při krátkých brzdících režimech by se využíval přebytek výkonu spalovacího motoru při jízdě mezi zastávkami pro natlakování zásobníku. Zásobník nebude velký, protože objem kapaliny nemusí být pro tyto přechodné režimy velký. Podle zkušeností stačí motor s o 40% menším výkonem, tedy je lehčí a hlavně bude mít v provozu v součinnosti s akumulací energie nižší spotřebu paliva. Motor není nutné vytáčet do vysokých otáček pro nutnost řazení, jeho životnost se zvýší, kromě toho poklesne produkovaný hluk.
Hydrostatický převod pro osobní vozidla se musí řešit tak, aby se využilo co nejvíce jeho předností a výrazně se potlačily jeho nedostatky. Převodovka tedy bude kombinovaná, přenos bude větvený, část výkonu v režimech, v kterých se vozidlo nachází přechodně, bude zajišťována hydrostatickým převodem, po zbylou dobu poslouží klasický převod ozubenými koly. Čerpadlo nemá měnitelný objem, hydromotor je přestavitelný odstředivým regulátorem (tedy přesně naopak, než se běžně používá). Pohon čerpadla od motoru je přes primární soukolí, sekundární převod zajišťuje hydrostatický mechanizmus. Po rozjezdu se využije plynulé změny hydrostatického převodu, dojde tedy k posílení momentu, při zvyšování otáček se odstředivým regulátorem mění i sklon desky hydromotoru až dojde k zamezení pohybu pístů, tím se zablokuje i čerpadlo a přenos výkonu je pouze přes primární ozubené soukolí. Čerpadlo i hydromotor se otáčejí s hřídelem, ale jejich písty stojí a neopotřebovávají se, hlučnost výrazně klesá. Převodovku je možné řešit s jedním nebo dvěma převodovými stupni, protože hydrostatický převod obsáhne všechny převodové stupně. Další převodové stupně zlepší ekonomiku provozu, protože přenos výkonu ozubením má vyšší účinnost, než přes hydrostatický převod. Řadit další stupně je možné ručně buď pomocí klasické spojky, nebo převodovku řešit s planetovými převody a řadit pomocí lamelových spojek a brzd (výhodnější řešení). Výhodou hydrostatických převodů je nulový skluz, nedochází tedy k zbytečným ztrátám jako u hydrodynamického měniče momentu.
 

Elektrický převod:

Elektrický převod se používá u největších stavebních vozidel, lodí a lokomotiv. Je to velmi jednoduché, ale ne tak docela ekonomické řešení. Na spalovací motor se připojí generátor a potřebném výkonu a na každou nápravu (lokomotivy) nebo dokonce každé kolo (stavební vozidla s nosností až 200 tun, kde je to jediné rozumné řešení přenosu výkonu) se připojí přes redukční převod elektromotor. Spalovací motor tedy může pracovat v optimálních otáčkách kde má generátor největší účinnost, bez ohledu na rychlost vozidla. Nejčastěji se s tímto pohonem setkáme u dieselelektrických lokomotiv, což bývají i lokotraktory s výkonem okolo 735 kW, kde je toto řešení přijatelnější než hydraulický převod, který se svého času také používal. Problém elektrického přenosu je v ceně, velké hmotnosti a účinnosti, tedy pro motorová vozidla nejhorší možné řešení. Pokud si spočítáme účinnost generátoru, jednotlivých motorů a nutnosti regulace a dalších elektrických ztrát, dostaneme velmi mizerné číslo. Zlepšením je opět větvení přenosu, které měla velmi známá vlaková jednotka „Slovenská strela“ vyrobená firmou Tatra. Zde se přenos děl čistě elektricky do doby, kdy se otáčky generátoru a trakčních motorů vyrovnaly, v ten okamžik byly oba stroje spojeny třecí spojkou a pohon byl čistě mechanický. Podobný systém byl navržen i pro Tatru 111, ale do výroby se nedostal, nebo aspoň o tom nevím.
 

„Nepřevody“:

Toto označení jsem si nechal až nakonec pro jednu specialitu, která byla sice matematicky propočítána a dokonce i v jednom exempláři vyrobena už někdy mezi válkami, ale pro technickou náročnost se do praxe nikdy nedostala. Nešlo o převodovku jako takovou, ale o změnu počtu expanzních zdvihů pístu na jedno otočení klikové hřídele, kde se využívalo systému volnoběžek, prostě přídavná ojnice při pohybu pístu směrem dolů zabrala do kliky výstupního hřídele a kus ho pootočila, podle zatížení se měnila délka kliky a tím se měnila délka záběru a tedy i počet impulzů na otáčku, tedy výsledek stejný jako u normálního převodu. Pohyb pístu zpět byl přes volnoběžku. Problém zde nastává ve vyvážení motoru a spolehlivosti zařízení. Přesněji to už popsat nedokáži, viděl jsem schéma už někdy před 15 - 20ti lety a mnoho detailů si z toho už nepamatuji.
 

Rozvodovka:

Rozvodovka se skládá se soukolí stálého převodu a diferenciálu, u klasické koncepce s motorem vpředu a pohonem zadní nápravy je umístěna na zadní nápravě mimo převodovku. Pokud je motor u hnané nápravy, slučuje se rozvodovka do jednoho dílu s převodovkou.

Stálý převod:

Stálým převodem rozumíme čelní nebo kuželové soukolí (obr. 31), které slouží k přenosu momentu na diferenciál. Stálý převod se skládá z pastorku a talířového kola. U předních pohonů s motorem umístěným napříč se používá soukolí čelní se šikmými zuby, které není výrobně náročné. Uspořádání s motorem vzadu a pohonem zadních kol vystačí s kuželovým soukolím se zakřivenými zuby, liší se jen použitým typem ozubení (Oerlikon s eloidními zuby a Gleason se zuby kruhovými), osa pastorku protíná osu talířového kola. U klasického uspořádání s motorem vpředu a pohonem zadních kol se používá hypoidní soukolí, což je druh soukolí šnekového, kde osa pastorku neprotíná osu kola, je vyosena na stranu (převážně dolů). Lze je vyrobit s šikmými i zakřivenými zuby. Soukolí má při stejných rozměrech větší únosnost než soukolí kuželové. Pro zachování dobré účinnosti (až 96%) je nutné dodržet co nejmenší vzdálenost os pastorku a kola, u automobilů se ustálila hodnota na 25 mm. Zuby tohoto soukolí vykonávají složený pohyb, kdy se nejen odvalují, ale také po sobě posouvají, což ve výsledku vytváří velký měrný tlak a tedy nutnost použití speciálně aditivovaných olejů, označovaných písmenem H (PP 90 H atd.). Použití normálního převodového oleje vede k rychlému zničení soukolí.
Kuželové i hypoidní soukolí se vyrábí vždy jako pár, tedy pastorek přísluší vždy k určitému talířovému kolu a jsou spolu ve výrobě zabíhané. Proto se nedá libovolně jeden z dílů nahradit dílem z jiného páru, takové sloučení vede ke zničení soukolí. Při montáži se musí dodržet předepsaný postup nastavení pastorku vůči talířovému kolu.
 

Diferenciál:

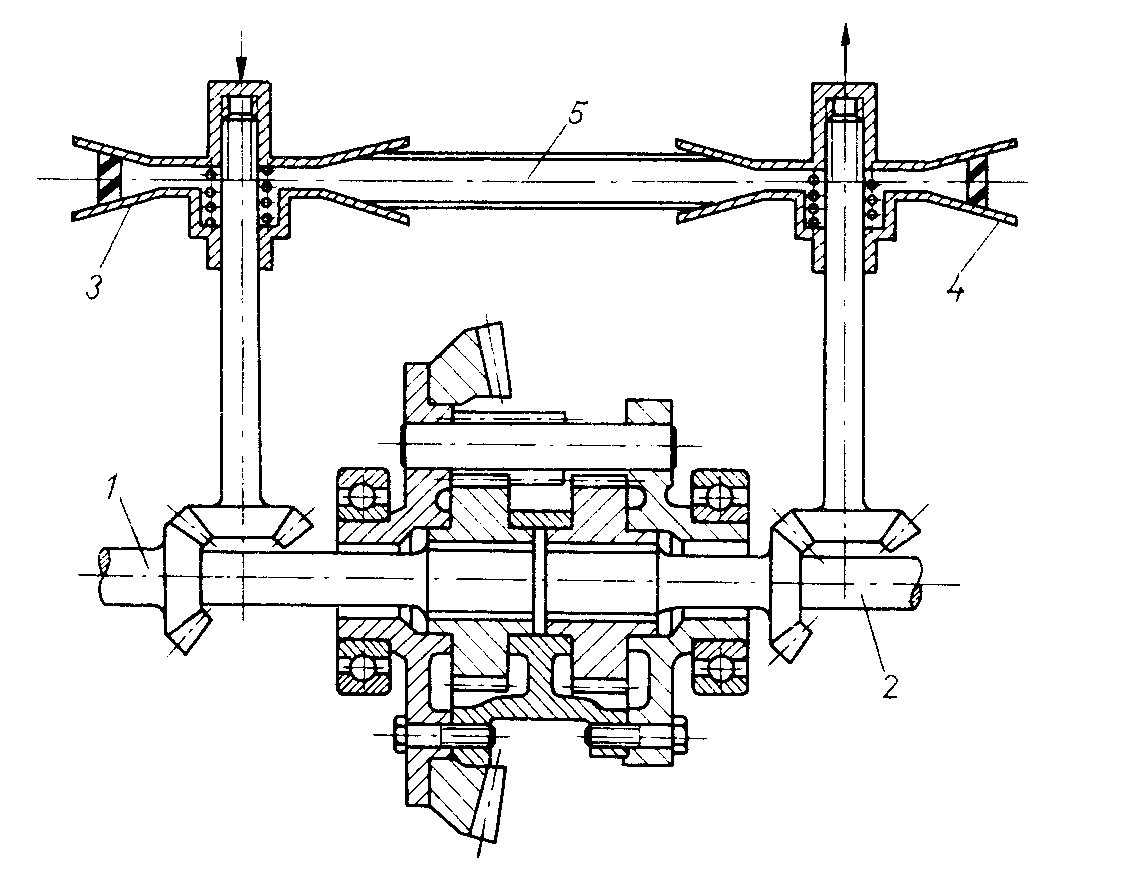
Diferenciál je důležitou součástí převodového ústrojí, zajišťuje rozdělení momentu mezi obě kola nápravy v závislosti na jejich odporu valení. Jde o symetrický planetový převod s kuželovým soukolím (obr. 31).

Obr. 31  Schéma automobilového diferenciálu

 

1) hnací pastorek 2) talířové kolo (stálý převod), 3) klec diferenciálu, 4) satelity, 5) centrální (planetová) kola

Výkon od převodovky se přenáší přes soukolí stálého převodu na klec diferenciálu a tedy unášeč satelitů. Satelity mohou být 2 – 4, záleží na přenášeném momentu, diferenciál se vyrábí pro jednoduchost s přímými zuby. Při stejném odporu obou kol se točivý moment rozdělí v poměru 50:50, kola se otáčí stejnou rychlostí. Jakmile se jedno kolo odlehčí, poměr výkonu se automaticky změní, při projíždění zatáčkou se mohou kola odvalovat přesně podle poloměru zatáčky. Jediným problémem tohoto systému je vysoká mechanická účinnost, kdy se při odlehčení jednoho z kol např. při rozjezdu na náledí začne přenášet všechen moment na toto kolo a druhé je bez momentu, vozidlo se nerozjede. Z tohoto důvodu se používají různé metody k omezení svornosti diferenciálu. Nejjednodušším řešením je mechanické zablokování planetových kol vůči sobě (obr. 32), diferenciál je opatřen přídavným zařízením ovládaným z kabiny řidičem pákou nebo elektricky.

Obr. 32  Mechanická závěrka diferenciálu

 

Při stojícím vozidle se zasune ozubená spojka (podobného typu, jaký má synchronizační spojka) do záběru a tím se propojí napevno obě planetová kola. Vylepšené verze mají možnost aktivace závěrky i za jízdy, závěrka má synchronizaci.
Samočinné omezení svornosti se děje mechanicky nebo hydraulicky brzděním planetových kol vůči sobě. Velikost brzdící síly udává svornost, vyjadřuje se v procentech. 100% svornost znamená úplně zabrzdění kol vůči sobě, činnost diferenciálu je nulová, stejně jako u mechanické závěrky. Hydraulické systémy se vyznačují progresivním účinkem, při malém rozdílu otáček planetových kol je brzdící síla malá, se zvyšujícími otáčkami se zvyšuje, klesají tak ztráty při normální jízdě. Principem je zubové olejové čerpadlo, které tlačí olej přes malý otvor, který vytváří odpor. Na každém planetovém kole je přidáno jedno zubové kolo čerpadla, při normální jízdě rovně se obě kola netočí a tak se žádný samosvorný účinek neprojeví. Při rozdílném otáčení planetových kol začne čerpadlo pracovat a tak se obě kola mezi sebou brzdí. Vyšší rozdíl otáček vyvolá progresivní nárůst odporu. Třecí mechanizmus využívá ocelových lamel podobně jako mokrá spojka, správným předepnutím talířovou pružinou se dosahuje požadované velikosti brzdící síly. Takové řešení používala i Škoda u Š 130 LR. Pro běžný provoz cestovních vozidel se sportovním zaměřením se volí velikost svornosti okolo 35%. Dnešní elektronické systémy mohou podle provozních podmínek zvolit svornost od 0 do 100%.
Zvláštním systémem samosvorného diferenciálu je šnekový diferenciál Torsen (obr. 33). Kola mají šnekové ozubení, volbou stoupání šneků se určuje svornost. Šnekové soukolí vnáší vyšší odpor do otáčení planetových kol, principiálně totiž může šnekový převod přenášet výkon jen ze strany šnekového kola. Tento typ diferenciálu je výrobně náročnější a tudíž dražší, příliš se tedy nerozšířil, je nahrazován diferenciály s viskózní spojkou. Využívá se také jako mezinápravový diferenciál u pohonů 4x4 (např. Range Rover).

 Obr. 33  Šnekový diferenciál Torsen (Torque Sensing)

 
 

Pohon 4x4:

Označení 4x4 (nebo také 4WD) se začalo používat v osmdesátých letech pro vozidla vybavená trvalým pohonem všech čtyř kol. Po velkém úspěchu Audi Quattro, které předvedlo výjezd na jeden z alpských kopců na sněhu s letními pneumatikami a zároveň opanovalo mistrovství světa v rallye, poptávka po vozidlech této koncepce výrazně stoupla. Dnes už má prakticky každý výrobce aspoň jeden model vybavený pohonem 4x4, Subaru už dlouhé roky všechny modely. V čem spočívá kouzlo pohonu 4x4: jde o fyzikální jev, kdy kolo přenášející moment ve směru svého otáčení má omezenou možnost přenosu výkonu kolmo na osu otáčení, proto nelze přenést jednou nápravou výkon libovolně velký bez problémů s řiditelností. Nejhůře je na tom přední náhon, který nedokáže efektivně přenést výkon větší než asi 120 kW (měření firmy Ford při vývoji vozu Ford Escort 1700 a 200 RS). Pokud tedy rozdělím moment na obě nápravy, v teoretickém případě snížím zatížení kol na polovinu a tedy efektivita přenosu výkonu se zvýší, vozidlo bude lépe zvládat zatáčky při plném přenosu výkonu. Problém zde nastává v případně převážně se používajícím systému neřiditelné zadní nápravy, která při průjezdu zatáčkou opisuje menší poloměr než náprava přední. Pohon je nutné vybavit dalším diferenciálem který se umístí mezi nápravy, vozidlo má tedy tři diferenciály. Mezinápravový diferenciál je možné vyrobit symetrický nebo lépe nesymetrický, kdy se poměr přenášených momentů rozdělí v poměru zatížení náprav. Mezinápravový diferenciál je velmi vhodné vybavit samosvorným zařízením, nejlépe elektronicky řiditelným, z tohoto pohledu se jako dobré řešení považuje viskózní spojka s měnitelnou velikostí tření. Pro jízdu na silnici sice stačí klasické provedení diferenciálu, ale kluzký povrch a jízda v terénu již vyžadují určitou míru svornosti. V těžkém terénu je nejlepším řešením závěrka zadního a mezinápravového diferenciálu, podmínkou je možnost prokluzu kola na podkladu, což je v terénu splněno. Úplné uzavření diferenciálu na zpevněném podkladu vede ke zhoršení jízdních vlastností a nadměrnému opotřebení pneumatik, u těžkých vozidel může dojít i k poškození převodového ústrojí, proto se má závěrka používat pouze v nejnutnějších případech a pokud možno jen pro jízdu rovně. Zvýšení svornosti u mezinápravových diferenciálů se řeší několika způsoby, kromě šnekového diferenciálu se používá diferenciál s viskózní spojkou a jako zvláštní případ spojka Haldex (VW), což je jakási kombinace viskózní spojky s hydraulickým brzděním. Viskózní spojka (obr. 34) je založena na vlastnosti silikonového oleje v kterém jsou lamely spojky ponořeny, rozdíl v rychlosti otáčení lamel zvyšuje viskozitu oleje, odpor oleje mezi lamelami roste. Další regulace je množstvím oleje, čím je ho více, tím více odporu spojka vykazuje. Lamely se mezi sebou nedotýkají a jejich životnost je tedy neomezená.
Kombinací typů diferenciálů je velké množství od nejklasičtějších systémů s mechanickými diferenciály se závěrkami na zadním a mezinápravovém diferenciálu (nebo i bez závěrek) až po systémy kombinované, kde jsou mechanické diferenciály náprav s elektronickými závěrkami či řízenou svorností kombinované s mezinápravovým diferenciálem s viskózní spojkou nebo spojkou Haldex, často je vše řízeno vyspělými elektronickými systémy. U cestovních vozidel se pro jednodušší řízení svornosti využívá systému ABS/ESP, kdy se prokluzující kolo automaticky přibrzdí provozní brzdou. Nemá to sice plné vlastnosti samosvorného diferenciálu a dochází ke ztrátě výkonu, ale pro krátkodobé působení při rozjezdu vozidla toto řešení vyhovuje.

Obr. 34  Diferenciál s viskózní spojkou

Spojka Haldex je vybavena elektronickým systémem který napomáhá rychlosti její funkce. Nejde o diferenciál v pravém slova smyslu, ale o spojku, která na základě rozdílu otáček kol přední a zadní nápravy připojuje k trvalému pohonu přední nápravy pohon nápravy zadní s možností určitého prokluzu. Tento systém od VW převzala i Škoda Octavia 4x4. Obecně se mluví o tom, že vozidlo má menší ztráty v převodovém ústrojí a tento systém pro provoz na kluzkém povrchu dostačuje. Pohon 4x4 se spojkou Haldex má za úkol umožnit zvýšení trakčních schopností v extrémních podmínkách, přenos enormního výkonu zde nebyl požadován.
Obecně je z hlediska stability jízdních vlastností výhodnější pohon přední nápravy, proto se u dražších modelů přenáší většina momentu v běžném provozu na přední kola a jen v případě nutnosti se poměr mění ve prospěch nápravy zadní. Pohon přední nápravy je méně citlivý na boční vítr. Snahou výrobců je nabídnout takový systém, kdy se nemění jízdní vlastnosti při změně přenosu výkonu mezi nápravami, řidič by neměl nic zpozorovat, vozidlo by se mělo chovat stále stejně. Nejnebezpečnější je změna z nedotáčivosti do přetáčivosti a naopak, na kterou není řidič připraven. U klasického provedení pohonu 4x4 bez stabilizačních systémů nebo bez elektronický řízených viskózních spojek je dost velkým problémem slalom, tedy rychlé projíždění za sebou následujících opačných zatáček, kdy se moment přenáší podle otáčení volantu mezi obě nápravy a pokud na to není řidič zvyklý, vozidlo se chová hůře než jen při pohonu 4x2. S touto vlastností dlouho bojovali i soutěžní jezdci a i takový mistr volantu jako je Walter Röhrl s tím míval dost práce.
Na přední nápravě se závěrka používá zcela výjimečně pro vyproštění vozidla z těžkého terénu. Samosvorné diferenciály klasického typu nejsou pro přední pohon vhodné, zhoršují řiditelnost vozidla, používají se jen u vozidel pro rallye a použitá svornost je malá. Problémy s přenosem výkonu předním náhonem je možné vyřešit speciální úpravou diferenciálu, kdy se do systému zakomponuje plynule měnitelný převod (podobně jako na obr. 27), který napomáhá změně otáček planetových kol tak, že vnější kolo má nepatrně vyšší otáčky než odpovídá poloměru zatáčky. Diferenciál se chová jako samosvorný, řízení je ale necitlivé na přidání plynu, vozidlo je spíše neutrální. Už si nevzpomenu která japonská automobilka něco takového používá u jednoho ze svých dražších modelů. Tohoto systému se dá využít také u nápravy zadní při pohonu 4x4, kdy se zlepší ovladatelnost při prudkých změnách směru (Honda/Acura RL). Zde je celý systém 4x4 řízen pomocí elektroniky tak, že za normální jízdy přenáší přední kola asi 70% momentu, v případě potřeby se poměr přenášeného momentu mění nejen mezi nápravami, ale také mezi koly zadní nápravy, kdy je pomocí tzv. akcelerátoru (planetové převody a vícelamelové spojky s hydraulickým ovládáním) možné přenést až 100% momentu na vnější zadní kolo. Zvýšený moment napomáhá stáčení vozidla okolo svislé osy do zatáčky, vozidlu je napomáháno v zatáčení výkonem motoru.
Mezinápravový diferenciál způsobuje problém při aplikaci ABS, protože nějakým způsobem propojuje obě nápravy a tím ovlivňuje brzdné schopnosti jednotlivých kol. Z tohoto důvodu je vhodnější použít spojku Haldex nebo takové řešení, kdy se diferenciál krátkodobě při aktivaci ABS odpojí od jedné z náprav.
 

Spojovací hřídel:

Spojovací hřídel, lidově zvaný kardan, slouží k propojení převodovky a rozvodovky v případě klasické koncepce nebo pohonu 4x4. Skládá se z ocelové trubky a dvou kusů křížových kloubů (obr. 35) na každé straně.

Obr. 35  Křížový kloub, princip konstrukce stejnoběžného kloubu
 
          úhel vyklonění  obou kloubů musí být stejný
 U rozvodovky se připevňuje přírubou kloubu pevně k přírubě rozvodovky, u převodovky letmo pomocí drážkovaného hřídele, jež umožňuje posuvný pohyb z důvodu vyrovnání změny rozvoru náprav při propružení. Spojovací hřídel by měl být co nejkratší, jeho velká délka zhoršuje možnost vyvážení. Není-li možné jinými prostředky zkrátit délku spojovacího hřídele, rozděluje se na dvě části zhruba v polovině délky a v tomto místě se vytvoří na karosérii uložení s valivým ložiskem, do kterého se konce hřídelů uloží. Je to další komplikace prodražující výrobu, protože je nutné použít další dva křížové klouby.
Křížové klouby mají jednu nepříjemnou vlastnost, a to že se během otáčky při vyklonění mění jejich úhlová rychlost dvakrát za otáčku tím více, čím je větší úhel vyklonění (úhel vyklonění nemůže být libovolný, maximální výchylka činí asi 30°, potom se prudce zhorší přenos výkonu). Z tohoto důvodu musí být použity klouby vždy dva natočené vůči sobě tak, aby se jejich úhlové rychlosti navzájem vyrušily. Pokud koná zadní náprava jen malý pohyb vzhledem ke vzdálenosti od převodovky a nepřenáší se velký výkon, je možné místo kloubů použít pryžové bloky, které svou pružností rozdíl v úhlové rychlosti utlumí. Je-li pohyb nápravy vůči převodovce nesouosý (koná i příliš velký pohyb do stran), je nutné místo křížových kloubů použít klouby stejnoběžné, neboli homokinetické (obr. 36). Stejnoběžný kloub vznikne tak, že se délka spojovacího hřídele zkrátí téměř na nulu, tedy dva křížové klouby jsou těsně u sebe a jejich pomyslná osa půlí úhel výchylky obou kloubů. Klec kloubu (spojovací hřídel) tedy koná nerovnoměrný otáčivý pohyb, ale vstupní a výstupní hřídele se otáčejí rovnoměrně.

Obr. 36  Stejnoběžný kloub složený  ze dvou kloubů křížových

Obr.37  Princip kuličkového homokinetického kloubu
  

 
a)   při konstantním úhlu hřídelů se ozubená kola po sobě odvalují rovnoměrnou rychlostí
b)  nahradíme-li ozubení kuličkami ve vodícím věnci, dosáhneme téhož výsledku
c)  konstrukční provedení kloubu Rzeppa, kde je  možné měnit úhel vychýlení obou hřídelů

Toto uspořádání je ale rozměrné a těžké, proto se používají klouby homokinetické s kuličkami (obr. 37). Toto řešení umožňuje velmi velké vychýlení z osy se zcela rovnoměrnou úhlovou rychlostí. Kuličkový kloub se dá vyrobit i tak, že umožňuje určitý axiální posuv (kloub TRIPODE), čímž nahrazuje posuvný drážkovaný hřídel, nutný při použití křížových kloubů.
Za spojovací hřídel je také možné považovat kloubový hřídel od rozvodovky k hnanému kolu, zde jsou většinou stejnoběžné klouby nutností z důvody velkého rozsahu změn os otáčení kola, hlavně u přední nápravy.
Pro činnost a životnost jakéhokoli stejnoběžného kloubu je nutná čistota a předepsané množství mazacího tuku, který zároveň vymezuje vůli v kloubu. Používá se výhradně lithný tuk určený pro homokinetické klouby, je předepsáno i množství tuku v gramech které je nutné dodržet. Poškozenou manžetu okamžitě vyměníme, protože mazací tuk odstředivou silou vystříká ven a navíc se do kloubu dostanou nečistoty z vozovky. Spony manžety dáváme vždy nové.
 

Závěr:

Kdo to dočetl až sem, má už teď představu jak je to s převodovými ústrojími motorových i jiných vozidel. Co je problémem je účinnost převodu, snahou každého konstruktéra je zvolit takové řešení převodovky, která je pro daný účel použití nejvýhodnější a nejekonomičtější. Podle mého názoru budou ve stavbě osobních a nákladních vozidel ještě velmi dlouho přetrvávat konstrukce mechanicky řazených převodovek, technologie jejich výroby je dostatečně propracovaná a jejich cena je ze všech typu převodovek nejnižší. Velkou budoucnost vidím u konstrukce převodovky se dvěma spojkami DSG od Volkswagenu pro vozidla střední a vyšší třídy, která je jakýmsi etalonem pro ostatní výrobce a bude vyžadovaným vybavením pro sportovně založené řidiče. Po snížení výrobních nákladů se očekává nárůst prodejů u převodovek plynule měnitelných. Vozidla nižších tříd budou ještě dlouho vlastnit 5 – 6tistupňové převodovky, které budou za příplatek automatizované a také se rozšíří vybavování převodovkami CVT. Převodovky automatické klasické konstrukce s hydrodynamickým měničem momentu jsou už na hranici svého vývoje, dál se tam už nedá nic převratného vymyslet, zvyšování počtu převodových stupňů nad sedm nějak ztrácí smysl. Každopádně se bude dále rozšiřovat využití elektroniky v řízení převodových ústrojí, zejména u pohonů 4x4 a u převodovek nějak automatizovaných, kdy bude společně řídit výkon motoru i řazení jednotlivých stupňů, které bude co nejvíce komfortní. Vývoj se obecně zaměří na zvyšování účinnosti převodů a zvýšení životnosti na úroveň životnosti automobilu, včetně trvanlivosti olejové náplně. Kde ještě vidím možnost vývoje, tak u třecích spojek, kde by se mohla zvýšit životnost aspoň na úroveň 300 000 km. Převody hydrostatické zůstanou i v budoucnu vyhrazeny jen pro speciální případy vzhledem k jejich ceně.

Škodovkářům zdar!

Autor článku: CJ (Jiří Čech)

zobrazit další autorovy články
upravit článek pro tisk

Komentáře k tomuto článku (41):




 

© 1999-2025, Petr Váňa a Insidea Digital s.r.o.
Jakýkoliv výňatek či přetisk obsahu serveru Škoda TechWeb může být použit jinde pouze s písemným svolením provozovatelů serveru, jež jsou uvedeni výše.